新浪科技 手机

苹果正在研发AR和VR工具:用手套控制虚拟对象

新浪科技综合

关注

本文来自cnBeta

苹果继续研究为用户提供更好的虚拟和增强现实体验。苹果公司的两项新专利描述了改善用户如何触摸VR对象并与之交互的方法,以及如何更轻松地调整头显以更好地适应VR环境。

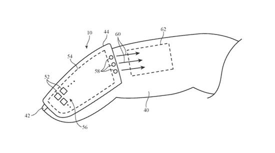
美国专利号20200026352的苹果专利标题是“带有手指设备的计算机系统”,它涉及使用户更容易与虚拟空间中的项目进行交互。

苹果表示,在虚拟现实系统中,可以使用力反馈手套来控制虚拟对象。诸如此类的设备可能对用户来说不方便,笨重或不舒服,或者提供的反馈不足。苹果建议使用纤细的传感器,可以戴在手指上,而不是笨拙的大手套或只能提供最小反馈的触觉反馈显示屏。苹果表示,触摸传感器可以安装在手指设备的外壳中,在对象沿着外壳的外表面移动时收集来自外部对象的输入。

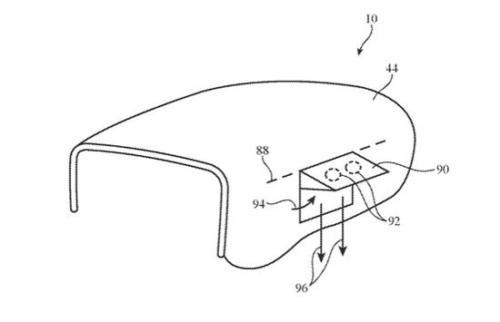
另外一项苹果专利则旨在解决AR和VR的主要障碍之一。笨重的头显最终可能会被眼镜取代。 美国专利号20200026079的苹果专利名称是“具有面部映射的可调式电子设备系统”,这项专利确保头戴式设备可以舒适地使用。苹果公司建议此类头显可以使用类似于Face ID中传感器来扫描用户的面部。

苹果表示,头戴式设备可能包括三维图像传感器。三维图像传感器可以捕获用户面部的三维图像。控制电路可以分析三维图像,以确定应在头显设备中使用哪个贴合模块,以优化头显设备在用户头部的贴合度。

另外,初始扫描将在单独的外部屏幕上显示信息,以帮助用户或支持人员选择最佳的定制面部贴合模块。在识别出用户将使用哪个版本的面部适配模块之后,该版本的面部适配模块,可以使用磁铁或其他耦合结构,耦合到头显的非定制部分上,为用户提供最佳舒适度。

加载中...