苹果获得悬停手势新专利 隔空操作将实现

ZOL中关村在线
据爆料,美国专利商标局6月11日授予苹果“通过基于接近度和基于接触的输入与用户界面对象进行交互的设备、方法和用户界面”的专利。

苹果获得悬停手势新专利
如今,触摸屏交互对于绝大多数智能手机和平板电脑用户来说是一个非常简单的系统。但有很多情况下需要在不触摸屏幕解决,比如双手不便或者设备摆放位置、角度不适合手指触摸灯。因此便需要更多的交互方式来弥补这一缺漏,完善优化交互进程。
据了解,苹果最新专利是苹果公司正在探索使用手指或Apple Pencil接近屏幕的可能性,实验在不触摸设备的情况下进行操作。通过创建不依赖于持续触摸屏幕的悬停增强手势,来带给用户全新类型的交互体验。只是目前智能设备的悬停手势在一些极为有限的功能中存在,尚未能够普及使用,它们的主要问题在于无法与传统的触摸界面无缝协作。接触屏幕与非接触屏幕可能采用的是两套手势体系,增加了用户的学习成本。电影《复仇者联盟》中,钢铁侠看似简单的手势来操纵全息投影的模型,其实却蕴含大量的先进科技。
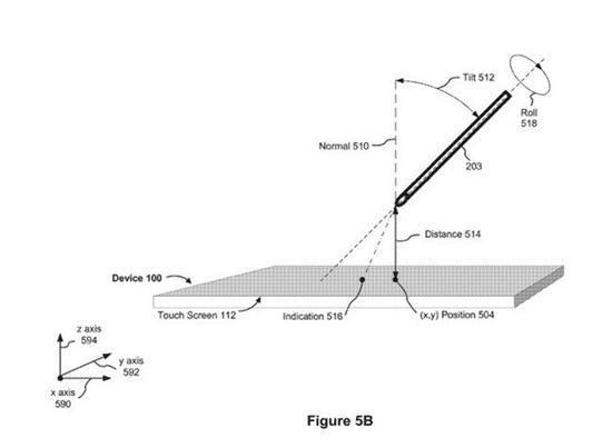
据悉,美国专利商标局已于6月11日授予苹果“通过基于接近度和基于接触的输入与用户界面对象进行交互的设备、方法和用户界面”的专利,该专利的主要方向就是解决上述两个领域的问题。在苹果的解决方案中,有一个或多个传感器用于检测输入物体(例如触控笔或手指)在触敏表面上方的接近度和与显示器接触的强度。

检测悬停接触强度
检测悬停项目并不新鲜,但苹果的专利更多地涉及用户界面如何与元素交互,而不是检测元素的存在。在这种情况下,观察触控笔或手指离显示器有多远,触控笔的角度,位置以及何时以特定的强度或压力接触显示器。
根据当前状态和先前采取的操作,界面可以对用户做出反应并呈现不同的选项。例如,界面可以仅在触控笔处于显示器的特定范围内时考虑用户的动作。当触控笔悬停在这上方时,屏幕实时提示图标,然后通过触控笔按下界面元素就可以触发其他动作。
压力机的强度或压力也可以用来表示不同的动作,强度更大的压力机可以算作单独的选择以进一步改变选项,如3D Touch。压力机的按压时间也可以测量并用于输入目的,长按压能够以不同于短按或按压的方式启动动作。

手势追踪
该专利还说明了界面物体如何实现四处移动以跟踪触笔或手指的悬停位置,达到与直接触屏相似的效果。例如,用户可以用抓取动作从文档中剪切文本或图像,然后将手指仍然聚集在一起,将手移动到文档的另一部分,来说明他们所希望的文件存放位置。反之,用户可以放开抓取以释放剪切内容并将其粘贴到光标所在的位置。
苹果还建议使用类似的悬停机制来改变位置指示器的视觉特性,向用户指示范围,或改变界面本身的元素。
专利的公布并不能保证苹果在未来产品或服务中引用该技术,但它确实显示了公司研发工作的兴趣领域。这不是苹果第一次研究基于悬停的交互。其中,2016年的专利建议在键盘和触控板附近使用直插式接近传感器,而2010年的专利则与触摸屏接近传感器有关。在2019年专利中,苹果还研究了如何使用力感应手套来增强输入,例如检测手势以及如何抓取物体。