新浪科技 互联网

章泽天渐渐退出京东系 她曾是京东不可或缺的女主人

新浪科技

关注

作者/S&C

来源:投资界PEdaily

章泽天再次被推到聚光灯下。

4月3日,天眼查显示章泽天退出了和刘强东夫妻二人共同投资并持股的“重庆嫩绿茶艺有限公司”董事一职,离婚疑云再度被引爆。

其实,撇开刘强东和章泽天的婚姻变局,更值得令人关注的是章泽天几年间快速转变的身份。网红奶茶妹妹—清华学妹—微软实习生—刘强东女友到刘太太—90后辣妈—投资人,迅速增多的标签背后,章泽天低调地建立了自己的财富版图。

“嫩绿茶艺”只是章泽天商业上执掌的冰山一角。这几年,章泽天投资了Uber、作业盒子、Bubs等一系列项目,早已低调涉足VC圈。

退出“嫩绿茶艺”,

她曾是京东不可或缺的女主人

媒体爆料,刘强东妻子章泽天卸任重庆嫩绿茶艺有限公司董事一职。

嫩绿茶艺成立于2015年9月,天眼查数据显示,该公司注册资本超3800万元,经营范围包括食品生产、加工、销售,餐饮服务等,而刘强东通过北京因味电子科技有限公司间接持股。

2015年,刘强东通过“北京因味电子科技有限公司”和“北京东钦餐饮管理有限公司”对重庆嫩绿茶艺有限公司间接持股,章泽天出任嫩绿茶艺董事一职。

而inWE因味茶曾在2016年7月获章泽天夫妇的私人投资。

对于章泽天日前的退出,inWE因味茶发布官方声明称:“由于持股比例的调整,inWE因味茶退出了重庆嫩绿茶艺有限公司的控股董事席位,章泽天女士也不再担任该公司董事一职。这是正常的商业调整,也希望大家继续支持inWE因味茶。”

此外,从天眼查信息可知,嫩绿茶艺新增董事一职由何永智接替,她是何人?

据了解,何永智是重庆小天鹅投资控股有限公司的总裁,有着“火锅皇后”“火锅梦想家”的称号,1982年,她在重庆的八一路好吃街开了一家小小的火锅店,随后开遍了重庆和全国。嫩绿茶艺的创始人,就是是何永智女儿廖韦佳。

放弃与“茶”有关的公司,这对章泽天来说并不是第一次。今年2月,位于北京中关村创业大街的京东JD+智能奶茶馆宣布停业,这家于2015年5月8日开业的奶茶馆,曾有刘强东和章泽天的双双站台,也逃不过市场环境变化中的关店调整。

章泽天退出嫩绿茶艺董事席位后,网友发现,目前章泽天仅在京东系的10家公司任有职务,包括京东数字科技控股有限公司、宿迁天强股权投资合伙企业等。与此前被曝光的担任京东系400多家公司法人的刘强东女助理比起来,资源十分稀少。

章泽天曾是京东战略上不可或缺的女主人。章泽天作为京东时尚品牌拓展顾问,不仅承担了京东品牌营销的人物,也显示了京东想要一改往常消费群体的决心。此后,她频繁出入各大秀场、亮相时装周,甚至登上了杂志封面。

两年前的奶茶妹妹大概没有想到,有一天她上头条的原因,会变成“明尼苏达”事件,即便今天退出嫩绿茶艺董事的商业操作,人们也都会和她的婚姻甚至人生联系在一起。

身价上亿,

女富豪的创投圈“成绩单”

正身处于镁光灯下的章泽天和明星毫无差别。在众人议论纷纷的花花世界,他们一举一动都成为了别人口中的谈资。但章泽天与普通明星不同的是,她不仅曾在演艺圈掀起了微波,获得了张艺谋的青睐,也在创投圈里叱咤风云。

实际上,早在2014年12月,当时还在读大四的章泽天就已经100%控股了一家公司“江苏章泽天文化发展有限公司”。从公开信息得知,该公司注册资本1000万元,主要业务是进行文化产业投资,电视节目制作与发行等等。目前公司尚未出现投资行为,但却注册了包括“章泽天文化”“奶茶宝贝”“奶茶宝宝”等多达130条的商标。

2015年之后,结婚至今短短4年的时间里,章泽天身上的标签也逐渐从京东时尚品牌拓展顾问、京东公益基金会荣誉理事长,直步上升为投资人。

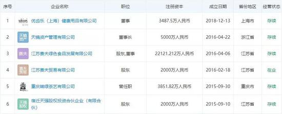
从天眼查披露的信息得知,章泽天所有公司11家,涉及餐饮、健康、文化等各个领域。

在章泽天所有的11家公司中,与投资相关的企业有4家,包括天镜资产、宿迁天强股权投资、东辰投资控股有限公司以及北京天强坤泰投资管理有限公司。

其中,东辰投资控股和宿迁天强股权投资是章泽天投资的主要出钱途径。

东辰投资控股有限公司成立于2015年5月,主要从事股权投资、资产管理、投资管理、投资咨询等等。机构实际控股人为刘强东,出资5000万元占股比50%,而章泽天时任董事长。

2015年,奶茶妹妹的“处女投”——作业盒子,就出自东辰投资控股有限公司。虽然当年东晨投资控股向作业盒子出手谨慎,仅投资了14.2万元,占股比1.31%。作业盒子在之后的发展中分别获得了贝塔斯曼、云峰基金、百度风投、联想之星、德联资本等多家知名机构的资本加持,也间接验证了初生牛犊、刚成为投资人的章泽天眼观独到。

目前,东辰投资控股有限公司已经投资了10家公司,包含科技、医疗、教育领域等各种项目。

2016年,中国优步公关负责人向媒体透露,章泽天通过刘强东家族基金投资了Uber。为此,刘强东曾对外表示:“我是把我家庭的投资分开,家庭的投资全部都交给我太太,她投得很优秀,包括投资了Uber。我不会看,完全信任她,如果不信任,那还结什么婚呢?”

值得注意的是,章泽天在海外还投资了一家婴幼儿奶粉及辅食公司Bubs。该公司于2017年在澳交所借壳上市,而近阶段将关注中国市场。Bubs在3月份曾与贝因美在中国成立合资公司,负责产品在中国大陆地区的推广与销售。

除了章泽天,Bubs背后还有众多资本大佬加持。包括海外Ellerston资本以及澳大利亚前总理陆克文的潮汕女婿谢若谷参创的Wattle Hill私募基金等。就在4月1日,更是获得了香港C2资本的私募股权投资。

2017年,24岁的章泽天以500亿身价成为当年财富榜单中最年轻富豪。

结语

刘强东与章泽天的婚姻故事,掺杂着财富、人性与荷尔蒙。而章泽天,这位一路被捧到上流社会的阔太太,却一直没有停下脚步。她的一路走来,更像是升级打怪不断通关,又像是奋力经营,力图在这浮沉之中,用财富构筑自己最后的盔甲。

如果说,2015年婚姻的曝光,让“清纯校花”以刘太太的身份亮相于世人,将她的感情公之于众。而去年的刘强东一案,似乎才让一直作为刘强东附庸的章泽天,找回了女性的本真与自我。

毕竟,在网友眼里,章泽天不再是当年的章泽天,已是钮钴禄·泽天。

加载中...