专利设计原始图揭示世界最著名玩具设计灵感

科技时代

《垄断》游戏1904年获得的专利,当时它并不包括伦敦街道的名字,而现在则有

《垄断》是现在全球最火爆的商业桌面游戏,自它发明至今,已有超过10亿名玩家

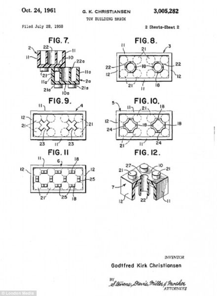
乐高的专利,这是发明者奥利-柯克-克里斯琴森的儿子1961年提交的申请

根据20世纪60年代的原始专利设计制成的乐高储藏积木

麦卡诺玩具的原始设计,它的发明者还发明了霍恩比火车和微型玩具
新浪科技讯 北京时间3月8日消息,据国外媒体报道,世界上一些最著名的玩具的最初专利已经被收集并发表在历史网站Retronaut上,它们已经变成玩具界的图标,但是就如这些令人惊叹的照片显示的那样,它们中的任何一种都诞生于一个简单想法。这些图片详述了这些超受欢迎的玩具在20世纪初的诞生过程。

麦卡诺专刊的包装盒

弹簧玩具机灵鬼的设计图,它由海军工程师理查德-詹姆士设计

经过特殊设计,只要轻轻一推,机灵鬼就能沿楼梯跳下去

亚瑟-格伦德吉恩设计的“追踪装置”,现在被世人称之为神奇画板

儿童通过旋转神奇画板的两个旋钮,就能画出美丽的图案

吉尔-乔的专利,在英国以特种兵的身份获准出售
在这些被选中的专利中,有深受家庭喜爱的桌面游戏《垄断(Monopoly)》,图片展示了这款游戏桌面的原始设计图。虽然这个桌面上并没有著名伦敦大街的名字,但是它们的概念相同。据档案记载,1904年授予专利后,这款桌面游戏在100多个国家售出2亿多套。乐高玩具的发明者奥利-柯克-克里斯琴森的儿子1958年通过这种积木玩具的详细图表,为其申请专利。现在乐高在130多个国家销售,它已经激发一代又一代它的粉丝不断创作出更高要求的建筑物,例如上个月在荷兰小镇恩斯赫德举行的格伦斯维克节(Grenswerk Festival)上出现的高65英尺(19.81米)的教堂。

20世纪50年代版的芭比娃娃身穿黑白相间的泳衣

根据士兵玩偶制作的老式特种兵的近照

芭比娃娃的原始设计,这是曾经最受欢迎的一种玩具

任天堂游戏小子1993年获得的专利,自此它在全球售出1.18亿部

对日本制造商来说,1989年的任天堂游戏小子非常流行
另一个非常受欢迎的玩具是法国的模型玩具麦卡诺(Meccano),它是以“玩具或教育设计”的名义出现在1906年的专利上。对发明者弗兰克-霍恩比来说,这是他取得的3项重大成功中的一项,另外两项分别是霍恩比模型铁路和微型玩具(Dinky Toys)。海军工程师理查德-詹姆士发明的弹簧玩具——机灵鬼(slinky)1947年获得专利。众所周知,只要轻轻一推,这种弹簧玩具就能跳下整个楼梯,并在重力和自身动力的作用下重新恢复原状。另一项设计是神奇画板(Etch-a-Sketch),使用者通过旋转两个旋钮移动铝粉,可以在画板上画画。法国发明家亚瑟-格伦德吉恩的这项智慧结晶,去年艺术家乔治-威罗斯奇花80个小时,用它创作了剑桥公爵和公爵夫人的肖像画。
60年代非常流行的吉尔-乔(GI Joe)和芭比娃娃都出现在该网站上,并附带模型和“有活动关节的玩具轮廓”的简单描述。这种美国人形象的玩具以特种兵的身份被获准在英国出售后,英国儿童开始了解并深深爱上吉尔-乔。较近流行的玩具便携式电子游戏机——游戏小子(Game Boy)1993年2月获得专利。这款由日本电子产品巨头任天堂制造的游戏机已经在全球销售超过1.18亿部。(孝文)