苹果申请神秘专利:可将iPad变成笔记本式电脑

环球网
苹果在近年来一直致力于将自家的iPad变成生产力工具。虽然目前来看小有成效,不过想必大多数人还是喜欢将iPad作为一台娱乐设备进行使用。
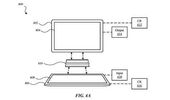
据AppleInsider报道,近日公布的一项新专利申请显示苹果正在探索一种配件,该配件可以将两个 iPad 连接在一起以实现笔记本式计算机的功能。
今天向美国专利商标局提交的名为“模块化的多个显示电子设备”的专利申请显示,当通过附件将两台 iPad 或 iPhone 连接在一起时,一台可以用作显示器,另一台可以用作动态键盘。
配件包括两个小连接器和一个铰链,连接器将促进设备之间的数据传输,以便它们可以作为一个系统协同工作。
这样的设计不禁让人想起微软的Microsoft Surface Duo,据此前的消息,Surface Duo有两个5.6英寸的显示屏,可以配合使用,也可以单独使用。
在配置方面,Surface Duo搭载高通骁龙855,6GB内存,64GB、128GB和256GB的内部存储空间。搭载Android 10系统的Surface Duo包括两块5.6英寸显示屏和一个360度铰链。展开后,屏幕尺寸为8.3英寸。
这两台设备你更期待哪一款呢?