专利暗示苹果欲将Apple Watch的排水功能推广至iPhone和iPad

cnBeta
原标题:专利暗示苹果欲将Apple Watch的排水功能推广至iPhone和iPad 来源:cnBeta.COM
6 月份的时候,Slo-mo Guys 在 YouTube 上分享了 Apple Watch 通过扬声器来排水的慢速摄影视频。不过 Apple Insider 曝光的新专利表明,苹果公司还希望将该功能推广至 iPhone 和 iPad 产品线,甚至考虑利用热量来蒸发水分。

视频截图(来自:The Slo-mo Guys / YouTube)
随着设备精密和复杂程度的提升,诸如 iPhone 和 Apple Watch 之类的设备就越容易因意外而损坏。比如其中包含的大量敏感组件,都害怕进水而导致故障。
有鉴于此,苹果一直在考虑提升自家产品的防水特性。比如 2015 年的时候,该公司披露过正研究通过硅胶密封 iPhone 来提供保护。
经过多年的研究,苹果于 2016 年率先在 Apple Watch Series 2 上加入防水特性。但或许是这一方案存在短板,苹果又于 2018 年提出了另一种新的密封技术。
How the Apple Watch Ejects Water in Slow Mo
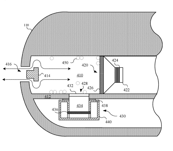
首先是向美国专利商标局(USPTO)提交的一项名为“为暴露于湿润环境中的扬声器和传感器组件提供干燥”的专利申请。
该方案致力于迅速去除便携式电子设备腔体内的水分,以便迅速恢复正常的功能、避免相机 / GPS 等功能受到损害。
具体功能似乎建立在 Apple Watch 系统的基础之上,并且描述了系统和材料搭配,比如利用扬声器(磁感振膜)来排水。

其次是一项名为“内置进水检测和加热器的盖子”的专利申请,主要涉及压力传感器来检测和促进水分的消除。
苹果指出,智能机或手表通常会使用电容型的 MEMS 压力传感器。尽管基于凝胶的压力传感器已在微电子设备中得到了广泛应用,但它也很容易吸水或受到环境污染。
为此,苹果希望盖住设备的一部分,并在其周围部署电极。通过测量多个电极中至少两个之间的介电常数,这套系统就能够记录水的存在。之后通过将这些电极通电加热,还可将水蒸发排除。