财说| 国产光刻机迎来突破,两连板的张江高科究竟受益多少?

界面新闻
原标题:财说| 国产光刻机迎来突破,两连板的张江高科究竟受益多少?

记者 | 曹立
编辑 | 陈菲遐
近期,上海微电子装备(集团)股份有限公司(下称“上海微电子装备”)披露,将在2021-2022年交付第一台28nm工艺的国产沉浸式光刻机。国产光刻机从此前的90nm一举突破到28nm,不仅打开了上海微电子装备的市场空间,也打开了资本市场对于这家公司上市的想象力。
一石激起千层浪。受此消息影响,6月5日相关概念股张江高科(600895.SH)、上海电气(601727.SH)在此消息刺激下双双涨停。张江高科在6月8日再次涨停。
上海电气和张江高科涨停是有什么依据?国产光刻机浪潮会有多大?
要理解这两个问题,就先要解决以下两个问题:上海微电子装备的规模及其上市后的市值多少,以及上海微电子装备能为相关概念股贡献多少利润。
上海微电子装备上市后估值几何?
此次光刻机国产化的主角上海微电子装备成立于2002年,相比尼康、ASML等前辈,属于光刻机里的“后浪”。
2009年,公司推出首款光刻机产品SSB500/10A,分辨率为2微米。2018年3月,公司的SSA600/20型光刻机验收通过,公司光刻机的分辨率推进到90nm。
官网显示,公司目前的产品线可分为光刻机、激光与检测和特殊应用三种。
要测算上海微电子装备的估值,先要估算其收入规模。
根据ChipInsights数据,2019年全球半导体、面板、LED用光刻机出货约550台,较2018年减少50台。其中半导体前道制造用光刻机出货约360台;半导体封装、面板、LED用光刻机出货约190台。
从总营收来看,2019年ASML、Nikon、Canon三巨头光刻机总营收954亿元人民币,由于这三家几乎占据了光刻机的绝大多数市场,因此估计目前全球光刻机市场规模在千亿元水平。
按光刻机的应用场景分,IC前道制造用光刻机占九成以上市场,基本由三巨头垄断。按照曝光光源分为i-line、KrF、ArF、ArFi,EUV,技术难度逐步上升,垄断性也逐步加强。

数据来源:芯思想,界面新闻研究部
上海微电子装备尽管已经具备其中ArF、KrF、i-line光源光刻机,但产品出货量还微乎其微。在若干年后,IC前道光刻机有望成为公司的主要收入来源。

数据来源:上海微电子装备官网,界面新闻研究部
在先进封装、LED和面板这类低端光刻机市场,上海微电子装备已经具备一定优势。根据ChipInsights统计,公司2019年出货预估在50台以上,包括较多用于先进封装和LED光刻机和少量用于面板的光刻机,按出货量计算,公司在IC前道以外的光刻机的市占率接近30%。
上海微电子装备目前并未披露其营收情况,但我们可以根据其出货情况和其他公司类比推测。
Veeco公司的光刻机产品结构和上海微电子装备比较类似,都以先进封装和LED光刻机为主。2019年Veeco公司光刻机的营收约为3亿元人民币,预估销售台数在20台以内,据此推算该公司光刻机单价在1500万元~2000万元。
假设上海微电子装备产品单价和Veeco接近,结合上海微电子装备50+台的出货量推算,其2019年光刻机营收大概率在7.5亿元到11亿元,加上激光检测和特殊应用两个产品线的营收,公司整体营收规模可能在10到15亿元。
参考A股半导体设备公司的估值水平,静态市销率在8.9倍到66倍,其中科创板公司的市销率显著高于其他主板上市的公司。

数据来源:Wind,界面新闻研究部
考虑到上海微电子装备大概率在科创板上市,结合营收体量,中微公司(688012.SH)更具备可比性。
在晶圆制造设备环节,光刻机约占总投资的30%,刻蚀机约占总投资的20%,从这个角度看,上海微电子装备的潜在市场空间大于中微公司。从行业影响力看,中微公司的5nm刻蚀机已经获得台积电认证,上海微电子装备明后年才能达到28nm,中微公司在其细分行业的影响力高于上海微电子装备。从竞争格局看,上海微电子装备的光刻机没有国内竞争对手,而中微公司还面临北方华创的挑战。

数据来源:中商产业研究院,界面新闻研究部
综上,上海微电子装备上市后的市销率基本可以对标中微公司。按目前中微公司58.3倍计算,上海微电子装备的估值可达到583亿元到874.5亿元,取中间值为728.75亿元。
张江高科的投资收益有多大?
如果上海微电子装备上市后,股东将会有不菲的投资收益。这也是张江高科两连板的主要原因。
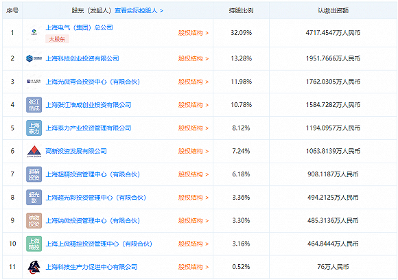
天眼查显示,上海电气(集团)总公司是上海微电子装备第一大股东,持有32.09%的股权,其他股东包括上海科技创业投资有限公司、上海光微青合投资中心(有限合伙)和上海张江浩成创业投资有限公司等。

数据来源:天眼查,界面新闻研究部
第一大股东上海电气(集团)总公司是上市公司上海电气(601727.SH)的大股东。但子公司上海电气并不能分享其大股东的收益。从这个意义上说,上海电气6月5日的涨停并没有基本面的支撑。
第四大股东张江浩成创业投资有限公司,由张江高科持有其100%股权,是直接受益标的。2016年4月,张江高科参与了上海微电子装备的A轮融资,投资成本为2.23亿元。考虑到上市的摊薄作用,上市后张江高科的持股占比会有所下降。
以中微公司为例,其IPO摊薄了10%的股本,而上海微电子装备和ASML差距很大,需要更多研发投入,其IPO摊薄程度将会高于中微公司。
考虑在不同市值和不同IPO摊薄比例的情景下,张江高科有望获得26.6亿元到54.9亿元之间的税后投资收益(所得税率按25%)。

数据来源:界面新闻研究部
2020年一季度末,张江高科净资产为96.6亿元,上海微电子装备上市预期将会增厚公司的净资产27.5%到56.8%。
另一家受益公司为中国光大控股(00165.HK),穿透后中国光大控股持有上海微电子装备第三大股东光微青合投资中心(有限合伙)100%的股权。

数据来源:天眼查,界面新闻研究部
中国光大控股和张江高科都是在A轮进入上海微电子装备,中国光大控股持有的股份数多于张江高科。但近两个交易日内,中国光大控股的股价并没有反应。截至6月7日,市值仅有174亿元人民币,远低于张江高科299亿元的市值。
到底是港股理性还还是A股聪明,只有交给时间去判断了。